Rivian dépose un brevet pour un guide numérique de sentiers hors route

Posted by

Rivian révolutionne le hors-piste avec un guide numérique collaboratif

Rivian, le constructeur de véhicules électriques aventuriers, continue d’insuffler une modernité numérique à l’expérience du 4×4. Au-delà de ses interfaces épurées sans boutons physiques et de ses nombreuses fonctionnalités logicielles, la marque dépose aujourd’hui un brevet prometteur. Ce système, baptisé « guide virtuel hors route », vise à démocratiser l’aventure en terrain difficile, notamment pour les conducteurs novices.

Un copilote numérique pour les sentiers inconnus

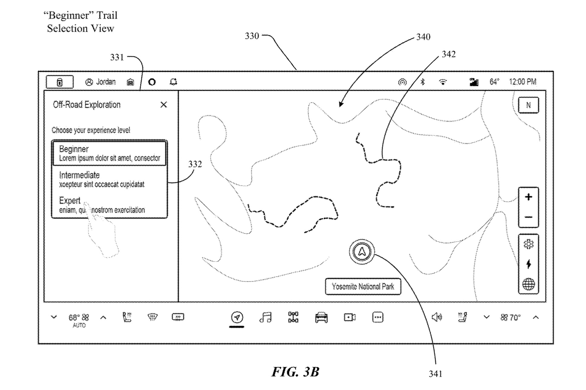
L’idée centrale de cette innovation n’est pas d’améliorer directement les capacités mécaniques des véhicules, mais de pallier le manque de connaissance d’un conducteur sur un sentier spécifique ou l’absence d’un guide humain. Décrit dans un dossier publié par l’United States Patent and Trademark Office (USPTO) le 20 janvier de cette année, ce concept utilise les données collectées par les véhicules Rivian ayant déjà parcouru un itinéraire donné.

Ces données, agrégées et analysées, permettraient au système de prodiguer des conseils en temps réel et d’ajuster automatiquement les réglages du véhicule pour la portion de route à venir. Imaginez un système qui, reconnaissant une montée technique ou un passage boueux imminent, suggère d’activer le mode Conduite Tout Terrain ou de régler la hauteur de suspension, le tout sans que le conducteur n’ait besoin de connaître le chemin.

Comment fonctionne ce guide de sentier intelligent ?

Le principe repose sur le crowdsourcing et l’intelligence collective de la communauté Rivian. Lorsqu’un propriétaire explore un nouveau sentier, son R1T ou son R1S peut enregistrer anonymement des données contextuelles : géolocalisation précise, réglages de conduite utilisés (mode Tout Terrain, Sport, Conserve…), hauteur de suspension, utilisation du frein moteur, et même des paramètres comme l’angle de roulis ou de tangage.

Ces informations sont ensuite anonymisées et ajoutées à une carte collaborative. Lorsqu’un autre conducteur Rivian s’engage sur le même sentier, son véhicule reconnaît sa position via le GPS et accède à cette base de données. Le système peut alors afficher à l’écran des conseils prévisionnels : « Dans 50 mètres, passage rocheux, activez le mode Rocher et relevez la suspension ». Il pourrait même proposer de configurer automatiquement ces réglages pour l’utilisateur.

Une expérience personnalisable selon le niveau du conducteur

Le brevet évoque également la possibilité de personnaliser l’expérience en fonction du niveau d’expertise déclaré par le conducteur. Un débutant pourrait recevoir des instructions très détaillées et des réglages largement automatisés pour maximiser la sécurité et la confiance. Un expert, en revanche, pourrait choisir de ne recevoir que des alertes minimales ou des informations spécifiques sur les obstacles majeurs, conservant ainsi le plaisir de la découverte et du pilotage manuel.

Cette approche transforme chaque aventure en une contribution potentielle à une connaissance collective, rendant les sentiers moins intimidants et plus accessibles. Cela renforce également l’écosystème Rivian, en créant une valeur ajoutée directement liée à l’utilisation communautaire des véhicules.

Vers une nouvelle ère pour l’aventure motorisée

Ce brevet s’inscrit parfaitement dans la philosophie de Rivian, qui place la technologie au service de l’exploration et de la connexion avec la nature. En digitalisant le savoir-faire du hors-piste, Rivian ne supprime pas le défi ou l’esprit d’aventure, mais il en réduit les barrières à l’entrée. Il offre une sécurité supplémentaire et permet aux conducteurs de se concentrer davantage sur leur environnement que sur les commandes de leur véhicule.

Si ce système voit le jour, il pourrait redéfinir les standards de l’assistance à la conduite en tout-terrain, faisant de chaque Rivian un pionnier numérique, laissant une trace utile pour ceux qui suivront. C’est une vision où la technologie ne remplace pas l’expérience humaine, mais l’enrichit et la partage à l’échelle d’une communauté passionnée.

Leave a Reply

Votre adresse e-mail ne sera pas publiée. Les champs obligatoires sont indiqués avec *